200亿!今天曹德旺胞妹在江苏拿下“超级IPO”背后小县城变了
(约合198.17亿元人民币),成为常熟第18家上市企业、港股第3家动力电池头部企业。
正力新能成立于2019年,是一家锂离子电池制造商,公司以短短4年时间跻身国内动力电池装机量前十(2023年排名第10),去年,正力新能的排名上升至第9位。
值得注意的是,正力新能由“玻璃大王”曹德旺胞妹曹芳掌舵。曹芳现年67岁,被誉为汽车供应链领域“铁娘子”。
此番正力新能的上市,不仅为家族商业版图再添一笔,使其从汽车玻璃行业扩展到汽车动力电池领域,更为常熟这座传统工业强县的产业转型注入一剂强心针。
这座素来以服装纺织闻名的小县城,为何能捧出一个200亿的动力电池IPO?


1997年,39岁的曹芳加入哥哥曹德旺创办的福耀玻璃,一路从基层做到了副总,2011年开始主管商务工作,并一度成为家族在福耀玻璃中年薪最高的成员。
但时年56岁的曹芳并非真正开启退休生活,而是出乎意料地选择了一个新的起点——创业,她从福建福州来到了900公里以外的江苏常熟。
2013年,曹芳与福耀玻璃的另一位高管陈继程就共同创立了常熟新中源创业投资有限公司。同年,新中源创投与丰田合资创立了新中源丰田能源系统有限公司,为丰田的混动、插混车型提供电池系统,曹芳担任新中源丰田董事长。
这次投资过后,2016年4月,曹芳与陈继程决定进一步加码电池赛道,于是二人再次携手在常熟创办了正力投资,从事电动汽车核心部件领域的投资。
这一创业不鸣则已,一鸣惊人。她一度成为令“宁王”曾毓群都有所顾忌的女人。
2019年,曹芳迎来她“创业”以来最为关键的一笔投资,花1.6亿元入股了由宁德时代老员工创立,专注于新能源锂离子动力电池及储能电池的塔菲尔新能源。
之后,双方在苏州常熟又正式重组成立了正力新能,全面接手塔菲尔新能源的技术、产品和客户关系。彼时,正力新能作为一家“全新”的动力及储能电池制造商,正式闯入大众视野。

在曹芳的带领下,正力新能的装机量在竞争激烈的中国动力电池赛道中迅速增长。2023年,正力新能跻身国内动力电池装机量前十,2024年位列第九。
市场方面,正力新能客户已囊括不少大型央国企、造车新势力及跨国整车企业,其中有一汽红旗、广汽传祺、零跑汽车、上汽通用五菱、上汽通用等等。同时,公司还与中国三峡、中国电建、东方电气等大型储能企业合作,目前与海内外eVTOL头部企业也展开了研发和航空认证工作。
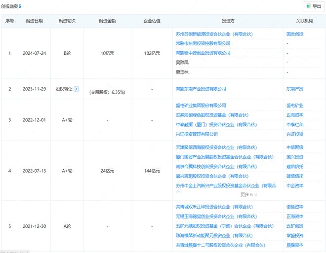
融资方面,企查查显示,公司自2021年以来完成了3轮融资,投资方涵盖新中源创投、东南投控、苏创能源投资、窦玉林、吴雅凤,以及华福投资、东南产投等超20家投资机构或个人。其中,正力新能于2022年完成24亿元的A+轮融资,投后估值144亿元,成为常熟市第一家独角兽企业。2024年7月,正力新能完成B轮融资,募集资金10亿元,公司投后估值182亿元。

业绩方面,公司收入从2021年的15亿元增长至2022年的33亿元,进而在2023年进一步增长至42亿元,复合年增长率达66.6%。随后,2024年公司收入再度增长至51亿元,增幅为23.3%。
与营收情况不同,正力新能的利润经历了大幅波动,2021年公司亏损4亿元,2022年亏损扩大至17亿元,正力新能称,这主要是因为WM客户业务营运出现重大不利变动。2023年,随着销量增长并形成规模效益,公司运营效率得以提升,亏损减少至5.90亿元。到2024 年,公司实现扭亏为盈,录得净利润9101万元。
不过,曹芳背后的家族资源一定程度为其背书:曹德旺通过福建耀华间接持股2.52%,而正力新能核心团队多来自福耀系,形成独特的“汽车零部件基因”,擅长与主机厂构建高效供应链。

随着正力新能的上市,常熟的上市公司扩展到18家,其中主板7家、创业板7家、港交所3家、纳斯达克1家,总市值约1400亿元。

值得一提的是,作为“苏南模式”的标杆之一,今年初,常熟以2024年3079.10亿元GDP,成为中国第五个GDP突破3000亿元的县级市。换言之,这一苏南小县城,以不足全国万分之一的土地,贡献了超过全国千分之二的GDP。
常熟聚集了阿科玛、吴羽、苏威等世界级领军企业,锂电级PVDF(聚偏氟乙烯,用于正极材料、隔膜材料)全球高端市场份额占有率达到95%,六氟磷酸锂(用于电解液)市场份额全球前5,在动力电池正负极、隔膜等核心关键材料领域形成独特优势。
此外,常熟还积极引进泰瑞联腾、东威、振氟等总投资近50亿元的新项目,进一步补强新能源材料产业链,全力打造锂电级氟化学材料全球生产基地。
作为常熟三大千亿级支柱产业之一,汽车及零部件产业是常熟经济发展的重要引擎。
早期,常熟凭借传统汽车配饰产业的扎实基础,吸引了丰田、三菱、西门子等众多国内外知名车企相继落户。目前,全市已集聚400多家汽车及零部件企业,构建起完整的汽车产业链,为多家世界知名品牌汽车提供配套服务。
不仅如此,近年来,常熟提升创新能力、加速集群发展、开拓国外市场,形成了龙头带动、配套完善、集群发展的汽车及零部件产业格局。
因此在新能源汽车核心米乐 登录入口部件——动力电池领域,依托深厚的产业积淀和完整的配套体系,常熟天然拥有更多车企的关注,具备优越的市场条件,或将持续成为车企布局新能源领域的优先选择。
2023年,苏州成功“超车”北京、常州,成为胡润中国新能源产业集聚度城市榜第3名,相比上一年的第7名,跃升4名。
其中,常熟默默使出了“洪荒之力”:2023年新能源产业产值占苏州大市第一,并计划到2025年全市新能源全产业链产值规模达到1100亿元。

不过,与其他县域经济强手相比,素来以纺织服装为鲜明标签的常熟,正经历着区域竞争格局的悄然变化,有着不小的转型压力。
常熟的三大支柱产业——服装、汽车及零部件和装备制造,均为传统产业,2022年产值近2700亿元,占常熟规上工业总产值比重的55%。
这些陪伴城市成长多年的产业,虽承载着制造底蕴,却也面临着劳动力密集型模式下亩均产出效率的提升课题。
常熟市工业和信息化局副局长曾坦言,“常熟的传统产业以劳动力密集型、制造加工为主,亩均产出较新兴产业差距较大。
面对这样的发展阶段性特征,常熟早已展开行动:一方面持续推进传统产业的智能化改造,让数字化技术为纺织车米乐 登录入口间、机械产线装上 智慧大脑;另一方面积极培育新能源等新兴产业集群,正力新能的上市,正是这座城市在新旧动能转换中落下的重要一子。
添加创客君微信:chuangke-jun ,备注“南京米乐M6 米乐平台/苏州/无锡/常州/南通”,即可申请加入城市读者群哦!
创客公社:《 曹德旺“胞妹”在江苏县城,干出182亿“超级独角兽”,再次冲刺IPO!》
中国电子报:《“智改数转”让传统产业释放新活力——访常熟市工业和信息化局副局长邵志达》
i常熟:《常熟“独角兽”第一股!正力新能今日IPO》、《迈步向“新” 常熟新能源产业突围向新》、《高质量发展一线观察③: 常熟,点燃加速“新”引擎》
特别声明:以上内容(如有图片或视频亦包括在内)为自媒体平台“网易号”用户上传并发布,本平台仅提供信息存储服务。
沈海高速一运输纸卷的货车发生车祸 多车受损有人受伤 交警部门:处理完毕已通车
江苏网友称超速罚单显示速度17052km/h,扣了12分罚款2000元
《编码物候》展览开幕 北京时代美术馆以科学艺术解读数字与生物交织的宇宙节律
三星 Galaxy Watch 8 / Classic / Ultra 智能手表规格和售价曝光

